ClubEnsayos.com - Ensayos de Calidad, Tareas y Monografias
Buscar

AUDITORIA ADMINISTRATIVA SACOS DEL SUR

Giovanny Vera GutierrezDocumentos de Investigación11 de Abril de 2018

3.904 Palabras (16 Páginas)360 Visitas

Página 1 de 16

AUDITORIA ADMINISTRATIVA

SACOS DEL SUR

1. Datos de identificación

1.1.   Datos de la empresa

a)        Nombre o Razón Social:  Sacos del Sur S.A.C.

b)        Dirección o localización: Jacinto Ibáñez 315 - Arequipa

        

        c)        Área de Auditoria: Área de Producción

1.2.  Del Auditor o Empresa Auditora

             a)        Nombre o Razón Social: INGENIOSOS & ASOCIADOS

              b)        Dirección: COOP. JUVENTUD FERROVIARIA J-5 Cercado - Arequipa.

                c) Del personal auditor: Todos los miembros del grupo

                 

                                

[pic 1]

INGENIOSOS & ASOCIADOS S.A.C.

Propuesta Auditoria Administrativa

Cliente        : SACOS DEL SUR S.A.C.

RUC        : 20100197708

Dirección Principal        : Jacinto Ibáñez 315 - - Arequipa

Actividad        : Fabricación De Fibras Manufacturadas de polietileno

Base Servicio        : Dentro de la Auditoria Administrativa:

a)        Realizar un examen de la operatividad del área de producción.

b)        Emitir el informe final conteniendo las recomendaciones positivas para optimizar los controles internos5 particularmente en las áreas críticas.

c)        Personal de auditoria conformado al inicio por un supervisor, un auditor Senior, un asistente de auditor Señor, un Semisenior y un auditor asistente.

Plazo        : Veinte días.

Condiciones        : La empresa Sacos del Sur deberá proporcionar toda la colaboración y facilidades del caso.

Sociedad Auditora Ingeniosos & Asociados

Oficina:        Coop. Juventud Ferroviaria J-5 Cercado - Arequipa.

Datos Referenciales de la Empresa Auditora[pic 2]

Referencias Principales. Razón Social : Sociedad Auditora Ingeniosos & Asociados.

Dirección Principal     :     Coop. Juventud Ferroviaria J-5 Cercado - Arequipa        

RUC:        10123456789

Partida de Registro:         N0 60000203

Accionistas: Todos los miembros del grupo

II.- Del Trabajo de Auditoria

2.1. Duración: 20 días         

2.2. Descripción de la Empresa a Auditar

Sacos Del Sur S.A. es una empresa privada dedicada a actividades de servicios y Fabricación De Fibras Manufacturadas

La composición societaria la conforman 03 accionistas domiciliados en el país que ostentan el 66 y 88 por ciento del total accionario, siendo el principal accionista el Sr.  Eduardo Freud

El capital de la sociedad es de S/ 729000.00 (Setenta y dos mil novecientos nuevos soles) representados por acciones nominativas de 5/. 80.00 (ochenta nuevos soles) cada tina, íntegramente suscritas y totalmente pagadas.

2.2.2.-        Capacidad Técnica

Sacos Del Sur S.A. tiene personal altamente calificado para el procesamiento y elaboración y Fabricación De Fibras Manufacturadas

2.2.3        .-Gestión Administrativa

La conducción administrativa de la empresa la ejecuta su Gerente General Sarfaty Salouf Roberto, quien conjuntamente con su Directorio coordina planes de desarrollo institucional de Sacos Del Sur S.A.

2.2.4.-        Datos Generales

        Nombre        : Sacos Del Sur S.A.

Oficina y Planta        : principal: Argentina 3135  - Lima

Área de Operación        :5,641 m2

        RUC        : 20100197708

        Accionistas        : Arca Domenack Gilberto Enrique (88 %)
                  
Morveli Rojas Jose Luis (6%)
                  
Tawil Sarfaty Mauricio (6%)

        Gerente General        : Tawil Tabbush Ralph
        
DNI        :15951475
        
Teléfono        : (012) 462916, (012) 463954

2.2.5.-        Actividad y Oferta Principales de la Empresa

La empresa se dedica a Fabricación De Fibras de polietileno Manufacturadas, sacos, bolsas, plásticos, envases de plástico.

2.2.6.-Área de influencia

El mercado de Sacos Del Sur S.A. son los  comerciantes de envases de polietileno de las ciudades de Arequipa, así como las productoras de productos que se realizan envases especiales. Lima destacar que productos producidos en .Sacos del Sur SA. Son comercializados en los mejores mercados de Lima como tiendas Gloria, Wong , Metro, mercados mayoristas -- minoristas - provincias.

2.3.        - Antecedentes de Auditorias Anteriores

Sacos Del Sur S.A. no posee antecedentes de Auditorias.

2.4.        - Objetivos de la Auditoria

2.4,1.- Objetivos Generales

    a) Realizar un examen de la operatividad del área funcional: Producción.

  1. realizar un examen de la organización del área funcional de producción
  2. realizar un examen sobre la seguridad del área de funcionalidad.

d)        Emitir el informe final conteniendo las recomendaciones positivas para optimizar los controles internos, particularmente en la área producción.

2.4.2.        —Objetivos Específicos

  • determinar las actividades en el área de producción que ocasionan sobre costos.
  • Establecer niveles de organización adecuados para la organización.
  •  incrementar la productividad y rentabilidad con fines constructivos y de apoyo a las necesidades examinadas

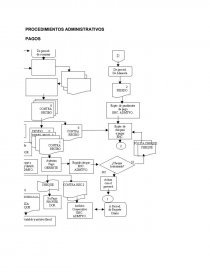
2.5.- Fases de la Auditoria

2.5.1.-        Reconocimiento de la Empresa

•        Conocimiento del negocio:

      3 días (Todos los integrantes del grupo)

•        Examen de operatividad del área de producción:

      4 días (todos los integrantes del grupo).

•        Estudiar las actividades y operaciones de la empresa del punto de vista de evaluación de planes, estrategias, estructura organizativa, procedimientos empleados:

      4 días (3 personas del grupo)

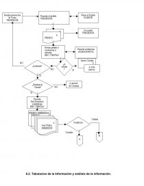
•        Procesamiento y Análisis de información:

                           6 días (3 personas del grupo).        

•        Elaboración del Informe Final emitiendo la Carta de Control Interno y Dictamen:

      3 días (2 personas del grupo).

2.5.2. Conocimiento del Negocio:

Área de Producción (Supervisor Planta Principal)

Manifestó que el proceso de producción es como sigue:

La primera etapa en el proceso de producción es la fabricación del film de polietileno

Para satisfacer las numerosas y variadas calidades de film de polietileno que nuestros clientes requieren, Productos Sacos del Sur S.A.C ha invertido en Máquinas extrusoras computarizadas de primer nivel, que permiten la producción del Film base de alta calidad.

...

Descargar como (para miembros actualizados) txt (22 Kb) pdf (1 Mb) docx (2 Mb)
Leer 15 páginas más »
Disponible sólo en Clubensayos.com